
منتجات
الميزات:
● إنذار انخفاض الجهد
● إنذار عطل في المستشعر
● إنذار عطل في الاتصال
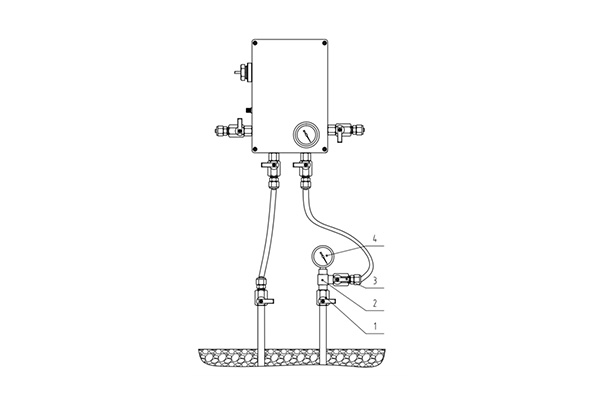
المعايير:
● نطاق الكشف: -100~0kPa
● دقة الكشف: ±1kPa
● دقة التكرار: ±0.5kPa
● وقت استجابة الإنذار: <2s
● درجة حرارة التشغيل: -40°C~60°C
● حجم الغلاف: الطول 218mm، العرض 145mm، الارتفاع 80mm
منتجات ذات صله
إقتبس